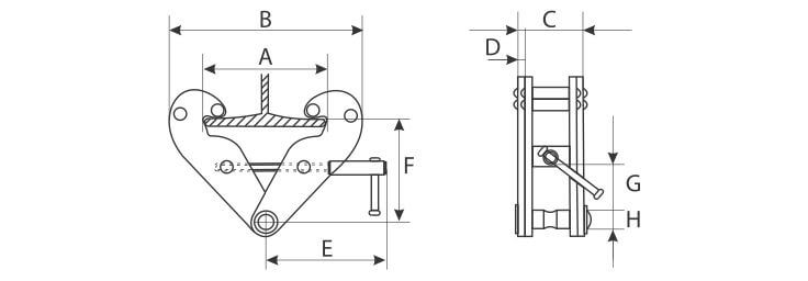
Clemă pentru profil I sau H tip PRO-BC
Descriere
Au o construcţie robustă din oţel, compactă, cu greutate mică.
Sunt uşor de montat pe orice tip de profil „I“ sau „H“, în funcţie de mărime.
Temperatura de lucru este cuprinsă între –10°C și +50°C.
Sunt confecționate conform SR EN 13157:2010.




